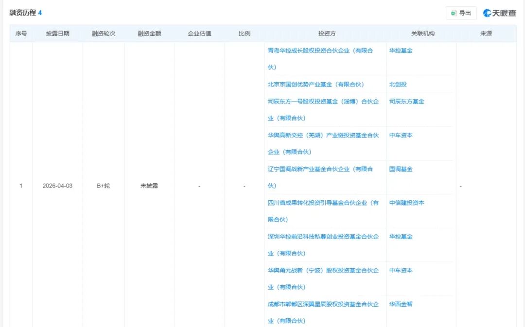
据天眼查,哈尔滨工大卫星技术有限公司(简称:工大卫星)近日获B+轮融资,本轮融资由华控基金、北创投、司辰东方基金、中车资本、国调基金、中信建投资本、华西金智联合投资。具体金额未披露。

图源:天眼查
作为哈工大卫星技术科技成果转化平台,工大卫星自2020年12月成立以来,已累计成功发射26颗卫星。
美国奥比特法布与法意合资企业泰雷兹阿莱尼亚开展合作,研发可加注电推进卫星装置,推进卫星在轨补能与太空可持续发展。
5 月 27 日欧盟敲定 2GHz 卫星频谱新规,实行配额管理,本土企业可分得三分之二资源,非欧盟企业最多仅能获取三分之一。
5 月 27 日,萤火虫航天获 NASA 7500 万美元合同,2028 年起运送四架无人机赴月球南极开展勘测,服务阿尔忒弥斯计划。